Should unused MGTs in my design be powered and/or filtered?
Clocking resources for each Multi-Giga Bit Transceiver (MGT) tile are powered from the AVCCAUCRXB and AVCCAUXMGT. For this reason, the used and unused MGTs must be carefully placed to reduce the number of power pins that are to be filtered. All MGTs, used and unused, must always be powered.
The power supply must be filtered under the following conditions:
- The GT11CLK_MGT of a tile is used.
- The SYNCLK1 or SYNCLK2 passes through a tile to reach another tile.
If MGTs are completely unused and the GT11CLK_MGT is also unused, filtering is not required.
Supply-Specific Rules:
- For MGTVREF and RTERM can be left floating in all C and I grade parts.
- AVCCAUXMGT must always be powered to 2.5V and filtered in any tile that uses a GT11CLK_MGT or MGT, or for which the SYNCLK1/2 passes through a tile; otherwise, 2.5V needs to be supplied and Xilinx suggests that it be filtered.
- AVCCAUXTX must always be filtered if MGTA and/or MGTB TX is used; otherwise, Xilinx suggests that it be filtered.
- AVCCAUXRXB must always be filtered if a GT11CLK_MGT or MGT (regardless of RX or TX or MGTA or MGTB) is used or if SYNCLK1/2 passes through a tile; otherwise, Xilinx suggests that it be filtered.
- AVCCAUXRXA must always be filtered if MGTA RX is used; otherwise, Xilinx suggests that it be filtered.
NOTE: Please follow the filtering guidelines illustrated in the Virtex-4 RocketIO User Guide.
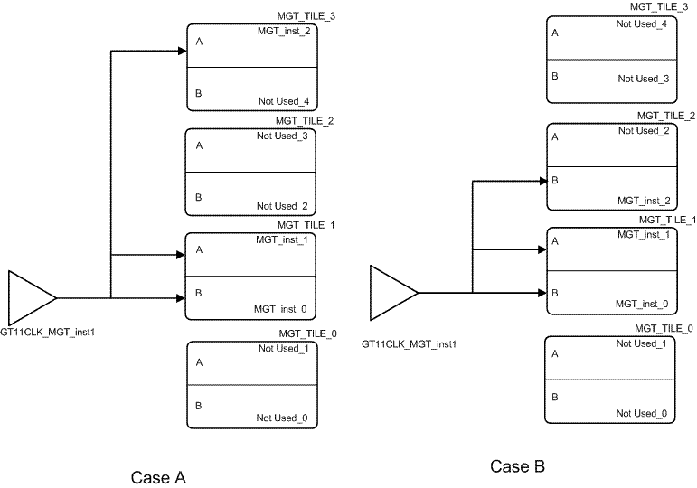
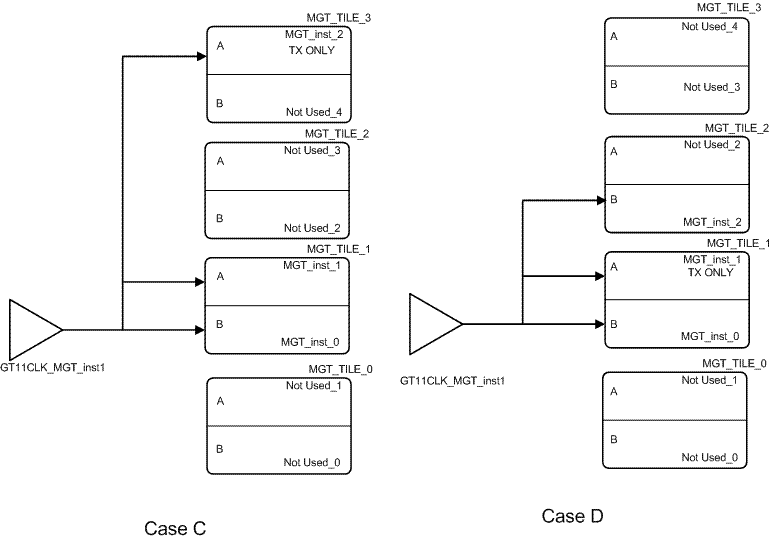
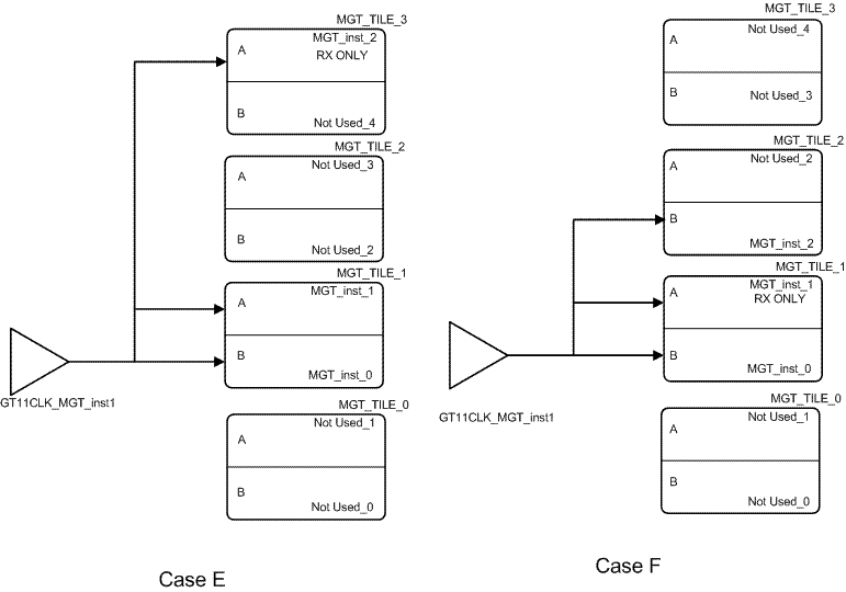
Figures 1, 4, and 7 illustrate two scenarios each of MGT utilization for an FX60 FF1152.
Case A
- Spreads the MGTs that are used throughout the column. In this case, the SYNCLK passes through MGT_TILE_2 to clock MGT_inst_2 at the top.
- MGT_inst_2 is the only MGT in a tile, and it is MGTA.
Case B
- Condenses the MGTs that are used throughout the utilized GT11CLK_MGT_inst. This case does not have any unused tiles with the clocks passing through them, which will ultimately reduce the number of required filtering networks.
- MGT_inst_2 is the only MGT in a tile, and it is MGTB.



Case C
- Similar to Case A, but MGT_inst_2 is the only MGT in the tile (MGTA and TX only).
Case D
- Similar to Case B, but MGT_inst_1 is MGTA and TX only.



Case E
- Similar to Case A/C, but MGT_inst_2 is the only MGT in the tile (MGTA and RX only).
Case F
- Similar to Case B/D, but MGT_inst_1 is MGTA and RX only.



NOTE: For TXPPADA/B, TXNPADA/B, RXPPADA/B, and RXNPADA/B, (1) indicates a connection to a trace and NC indicates a no connect.